Appartement T3 proche transports à louer à Strasbourg sans frais d'agence
Description de l'appartement de Monsieur B.
Strasbourg Montagne-Verte Disponible tout de suite. En colocation deux chambres dans un appartement situé Route de Schirmeck.
Arrêt des lignes de bus L1 et L2 au pied de l'immeuble. Pistes cyclables à proximité et station de tram Montagne-Verte à 10 minutes à pied.
Pour les étudiants: l'appartement est proche de la faculté de Médecine et de la Gare. Il se trouve à 18 min à vélo de l'Esplanade et à 25 min en bus.
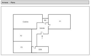
L'appartement est un F3 de plus 70 mètres carrés, agréable, moderne et lumineux.
L'espace privatif comprend deux chambres individuelles respectivement de 15m² et de 11 m2 (le loyer de chaque chambre est de 420 euros + 90 euros de provisions pour charges). Les charges locatives couvrent le chauffage, l'eau, l'entretien et le nettoyage des communs (couloirs, ascenseur etc) et font l'objet d'une régularisation annuelle (les charges locatives ne comprennent notamment pas l'électricité et les autres abonnements individuels souscrits en propre par les locataires).
L'espace commun est doté d'un grand salon, d'une cuisine équipée (réfrigérateur-congélateur, plaques de cuisson à induction, four), d'une salle de bain équipée d'une machine à laver et d'un WC séparé, d'une cave et d'un garage à vélo.
Le loyer global de l'appartement mis en colocation s'élève à 1020 euros (840 euros de loyers + 180 euros de charges mensuelles).
La location d'un garage fermé souterrain pour voiture dans le même immeuble est également possible (en option : 30 €/ mois en sus).
Concernant le diagnostic DPE, établi le 30/08/2023, classement en C/C.
À propos du prix
Loyer (charges comprises)
Charges locatives
Montant du dépôt de garantie
Honoraires
Frais d'agence estimés pour un appartement d’une surface moyenne (70 m²) dans votre zone de recherche.
Ces honoraires correspondent à maximum 13 € du mètre carré (état des lieux inclus) tel que défini dans la loi Alur.
Les + de cette location
Découvrez votre quartier
Strasbourg (67000)
Diagnostic de Performance Énergétique
Diagnostic de Performance Énergétique : C

Le Diagnostic de Performance Énergétique (DPE) indique la consommation d'énergie d'un logement et son impact en termes d'émissions de gaz à effet de serre.
La note va de A (logement très économe) à G (logement très énergivore).
Cette information vous aide à estimer vos futures dépenses d'énergie et l'impact environnemental du logement.
Note | Consommation (kWh/m²/an) | Description |
---|---|---|
A | ≤ 70 | Logement très économe |
B | 71 à 110 | Logement économe |
C | 111 à 180 | Logement assez économe |
D | 181 à 250 | Logement moyen |
E | 251 à 330 | Logement peu économe |
F | 331 à 420 | Logement énergivore |
G | ≥ 421 | Logement très énergivore |
Émission de Gaz à Effet de Serre : C

L’indicateur GES (Gaz à Effet de Serre) mesure la quantité de gaz à effet de serre émise par le logement, principalement liée au chauffage, à l’eau chaude et à la production d’énergie.
La note va de A (peu d’émissions) à G (fortes émissions).
Cette information vous permet d’évaluer l’impact environnemental du logement.
Note | Émission (kg CO²/m²/an) | Description |
---|---|---|
A | ≤ 6 | Faible émission de GES |
B | 7 à 11 | Émission modérée de GES |
C | 12 à 30 | Émission moyenne de GES |
D | 31 à 50 | Émission assez élevée de GES |
E | 51 à 70 | Émission élevée de GES |
F | 71 à 100 | Émission très élevée de GES |
G | ≥ 101 | Forte émission de GES |